LLC諧振半橋簡介
在傳統的開關電源中,通常采用磁性元件實現濾波,能量儲存和傳輸。開關器件的工作頻率越高,磁性元件的?尺寸就可以越小,電源裝置的小型化、輕量化和低成本化就越容易實現。但是,開關頻率提高會相應的提升開關器件的開關損耗,因此軟開關技術應運而生。
要實現理想的軟開關,最好的情況是使開關在電壓和電流同時為零時關斷和開通(ZVS,ZCS),這樣損耗才會真正為零。要實現這個目標,必須采用諧振技術。
LLC串聯諧振電路
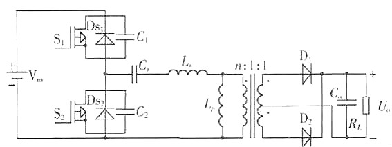
根據電路原理,電感電容串聯或并聯可以構成諧振電路,使得在電源為直流電源時,電路中得電流按照正弦規?律變化。由于電流或電壓按正弦規律變化,存在過零點,如果此時開關器件開通或關斷,產生的損耗就為零。下邊就分析目前所使用的LLC諧振半橋電路?;倦娐啡缦聢D所示:


其中Cr,Lr,Lm構成諧振腔(Resonant?tank),即所謂的LLC,Cr起隔直電容的作用,同時平衡變壓器磁通,防止飽和。
LLC電路特征
(1)變頻控制
(2)固定占空比50%
(3)在開關管輪替導通之間存在死區時間(Dead?Time),因此Mosfet可以零電壓開通(ZVS),二次側Diode可以零點流關斷,因此二極管恢復損耗很小
(4)高效率,可以達到92%+
(5)較小的輸出漣波,較好的EMI
LLC諧振半橋工作原理


上圖分別給出了 LLC 諧振變換器的電路圖和工作波形。圖1中包括兩個功率 MOSFET(S1 和S2),其占空比都為0.5;諧振電容 Cs,副邊匝數相等的中心抽頭變壓器 Tr,Tr 的漏感Ls,激磁電感 Lm,Lm 在某個時間段也是一個諧振電感,因此,在 LLC諧振變換器中的諧振元件主要由以上3個諧振元件構成,即諧振電容 Cs,電感 Ls 和激磁電感 Lm;半橋全波整流二極管 D1 和 D2,輸出電容 Cf。LLC 變換器的穩態工作原理如下:
(1)(t1,t2)當t=t1 時,S2 關斷,諧振電流給S1的寄生電容放電,一直到S1上的電壓為零,然后S1 的體內二級管導通。此階段D1導通,Lm上的電壓被輸出電壓鉗位,因此,只有Ls和Cs參與諧振。


(2)(t2,t3)當t=t2 時,S1在零電壓的條件下導通,變壓器原邊承受正向電壓;D1繼續導通,S2及D2 截止。此時 Cs和Ls參與諧振,而Lm不參與諧振。
(3)(t3,t4)當t=t3 時,S1仍然導通,而 D1與D2 處于關斷狀態,Tr 副邊與電路脫開,此時Lm,Ls和 Cs 一起參與諧振。實際電路中 Lm>>Ls,因此,在這個階段可以認為激磁電流和諧振電流都保持不變。
(4)(t4,t5)當t=t4 時,S1關斷,諧振電流給S2的寄生電容放電,一直到S2上的電壓為零,然后S2 的體內二級管導通。此階段 D2 導通,Lm 上的電壓被輸出電壓鉗位,因此,只有 Ls 和Cs 參與諧振。
(5)(t5,t6)當t=t5 時,S2 在零電壓的條件下導通,Tr 原邊承受反向電壓;D2繼續導通,而S1和D1 截止。此時僅 Cs和Ls 參與諧振,Lm上的電壓被輸出電壓箝位,而不參與諧振。
(6)(t6,t7)當 t=t6 時,S2仍然導通,而D1和D2處于關斷狀態,Tr 副邊與電路脫開,此時 Lm,Ls和Cs 一起參與諧振。實際電路中Lm>>Ls,因此,在這個階段可以認為激磁電流和諧振電流都保持不變。
L6599的軟啟動電路
Pin12 加上 Vcc 電壓后,給Pin1(CSS)外接電容 C13 充電,此時 C13 可視為短路,R36 與R32 并聯,電阻減少,L6599 的振蕩頻率升高,電源功率下降,當 C13 充滿電時,此時 C13 可視為開路,振蕩頻率由R32 決定,振蕩頻率降低,電源輸出正常,由此實現變頻軟啟動功能。同時,VDC 通過R20、 R21、 R22 串聯電阻及 R30分壓輸入 Pin7(Line),R30 上并聯的電容用來旁路噪聲干擾。
Pin7(Line)電壓低于 1.25V 關閉IC,高于 1.25V低于 6V時,IC正常工作,通過對 VDC 的電壓檢測,實現欠壓保護功能。
IC 完成軟啟動后,內部振蕩器開始振蕩,在 Pin15(HVG)與 Pin11(LVG)輸出如圖所示的兩個占空比接近 50%的脈沖,驅動 MOS管開始工作。
FSFR1700XS穩壓原理
次級電壓通過取樣電阻加在光耦(PC2)內發光管上,并與U402(TL431)的基準電壓進行比較,U402的穩壓值由上偏電阻 R428和并聯的下偏電阻R429、R430 決定,穩壓值由此公式算得:
Vo=[R428/R29//R430+1]*1.5V
當負載由滿載轉向空載時,引起輸出電壓上升,ICS1(TL431)1腳的電壓將上升,而1腳的電壓是穩定在 2.5V 的,這將引起 3-2腳間流過的電流增大,光耦(PC2)內發光二極管的電流增大,光耦內光敏三級管流過的電流也增大,光敏三級管相當于一個可變電阻,此時內光敏管電阻變小,引起 IC 振蕩頻率升高,使輸出電壓下降,反之,當負載由空載轉向滿載時,輸出電壓降低,必然引起 IC 振蕩頻率降低,調節輸出電壓升高,實現了穩壓的目的。
烜芯微專業制造二三極管,MOS管,20年,工廠直銷省20%,1500家電路電器生產企業選用,專業的工程師幫您穩定好每一批產品,如果您有遇到什么需要幫助解決的,可以點擊右邊的工程師,或者點擊銷售經理給您精準的報價以及產品介紹
烜芯微專業制造二三極管,MOS管,20年,工廠直銷省20%,1500家電路電器生產企業選用,專業的工程師幫您穩定好每一批產品,如果您有遇到什么需要幫助解決的,可以點擊右邊的工程師,或者點擊銷售經理給您精準的報價以及產品介紹

